Shop > Category > Product Details

Yamaha LOWER CASING. DRIVE 2 Parts

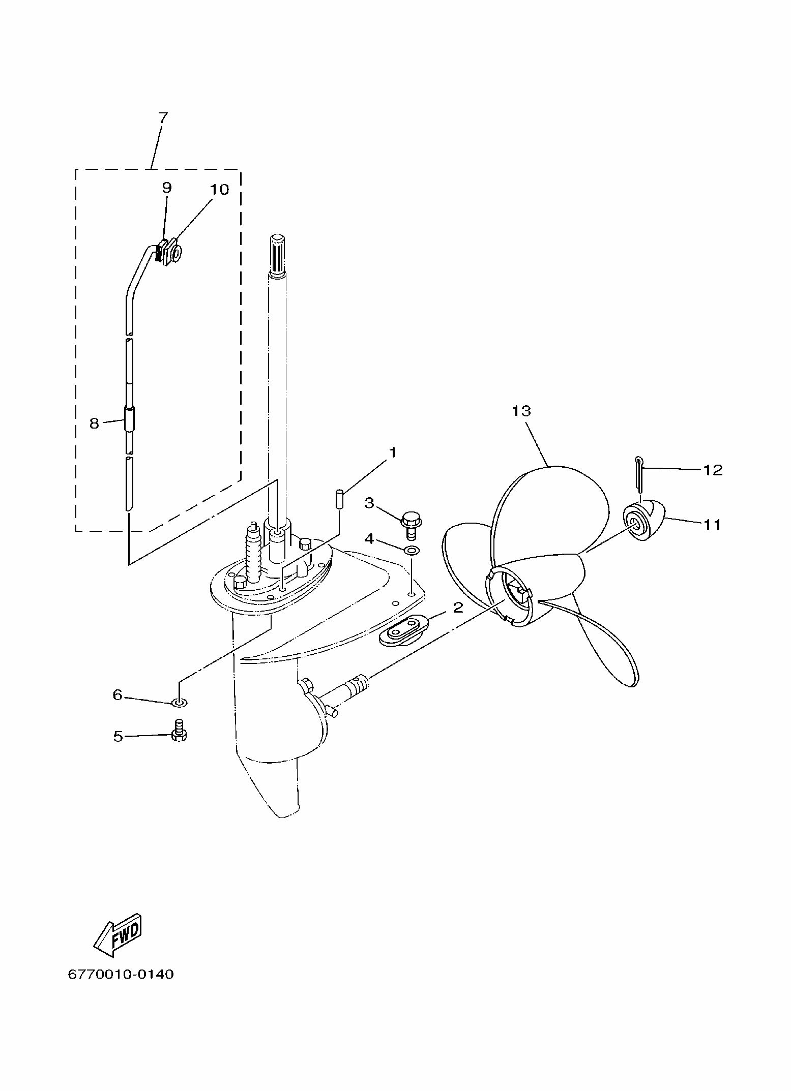
1

PIN, DOWEL

Part Number:
93604-08062

N5,000

2

ANODE

Part Number:
6E0-45251-12

N5,000

3

BOLT, FLANGE

Part Number:
95895-06016

N5,000

4

WASHER, INTERNAL TOOTH

Part Number:
92990-06300

N5,000

5

BOLT

Part Number:
97095-06020

N5,000

6

WASHER

Part Number:
92995-06600

N5,000

7

WATER TUBE ASSY

Part Number:
655-44360-00

N5,000

8

HOSE (L30)

Part Number:
90445-11262

N5,000

9

DAMPER, WATER SEAL

Part Number:
655-44365-00

N5,000

10

SET PLATE, WATER TUBE

Part Number:
655-44373-00

N5,000

11

NUT, PROPELLER

Part Number:
647-45616-02

N5,000

12

PIN, COTTER

Part Number:
91490-30030

N5,000

13

PROPELLER (3X9-1/4”X9-1/4”-C)

Part Number:
647-45941-00-EL

N5,000